产 品 说 明 书
无线温度变送器

一、LoRa技术特点:
LoRa的优势在于技术方面的长距离能力。LoRa技术在高性能、远距离、低功耗,支持大规模组网,测距和定位等方面突出的特点,这使得该方案(终端+网关)成为物联网大规模推广应用的一种理想的技术选择。

二、LoRa通讯测试
(1) 通讯距离测试
LoRa的最大空空通讯距离,在无障碍物的最佳环境下,发射功率为17dBm时,可达15公里,发射功率为20dBm时,可达20公里。

(2) 穿越障碍物测试
从以下测试数据看,LoRa通讯速率在低于1kbps的情况下可以单跳一个小区。

三、变送器技术指标
1、 温度量程:-50℃~650℃(可订制)
2、 测量误差:±1.0℃
3、 过载温度: 150% F.S
4、 上报周期:1分~12小时 可设定
5、 小数位数:0~3位 可设定
6、 信号传输:LoRa无线
7、 发射功率:≤100mW
8、 传输距离:10公里
9、 工作电源:3.6V锂电池
10、 电池寿命:≥3年(1分钟上传一次)
11、 过程接口:M20×1.5(或按要求订制)
12、 防爆等级:Exib ⅡB T4 Gb
13、 外壳防护:IP68
14、 工作环境温度:-40℃~70℃
15、 工作环境湿度:≤95% RH
16、 产品重量: 1350g(净重)
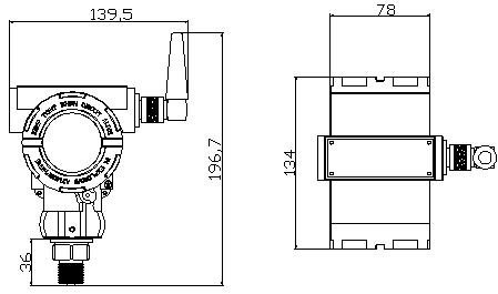
四、变送器外型结构

五、变送器显示说明

显示面板各部分说明如下:
|
代号 |
说明 |
代号 |
说明 |
|
1 |
超压报警指示灯,温度值超量程时闪烁 |
8 |
LoRa信号指示 |
|
2 |
调试接口 |
9 |
LoRa信号强度指示 |
|
3 |
按钮设置 |
10 |
LoRa信道指示 |
|
4 |
按钮1 |
11 |
温度值 |
|
5 |
按钮2 |
12 |
温度值单位 |
|
6 |
电池电量指示 |
13 |
温度满度指示 |
|
7 |
电池电压指示 |
14 |
组号与编号 |
六、变送器安装方法
1. 确定工艺要求的温度测量范围与要安装的温度变送器一致。
2. 工艺安装的接头螺纹规格必须与无线温度变送器配套。
3. 把无线温度变送器插入套管拧紧即可。
七、变送器参数设置
1、使用手抄器设置仪表参数
1) 在手抄器上选择“初始化”,在弹出的对话框中输入要设置的无线信道、网络、组号、编号,按“设置”按钮保存。
2) 将磁铁放置在无线温度变送器的磁感应区停留6秒钟,变送器复位并从手抄器上获取参数。
3) 听到手抄器“嘀”的响一声,表示无线温度变送器参数已经设置成功。
2、使用按键设置仪表参数
1) 按下Zero按钮,仪表进入参数设置模式,显示【01】
2) 按下W2按钮,进入通信地址设置状态,修改的数字闪烁,此时按W1按钮可以修改,十六进制从0-F循环递增。选定指定数字后,按W2按钮切换到下一位号,最高位设置完成后,按W2自动退出地址设置,进入到下一参数设置项【02】
3) 按W1按钮可以切换参数设置项。修改完成后要使参数生效,必须按W1按钮,切换到【99】设置项,按W2按钮进入设置,将它的值设置为1111,设置完后按W2按钮确认,仪表自动重启,新的参数被保存。
4) 如果不进入【99】设置项,前面修改的参数将不会生效,按键超时后自动退出设置状态。
5) 参数列表说明
|
标识 |
说明 |
|
【01】 |
使能指定目标LoRa地址,默认0 |
|
【02】 |
目标LoRa地址,【01】使能后有效 |
|
【03】 |
常规数据等待回复时间 |
|
【04】 |
LoRa信道,根据井名算出的信道再减去11 |
|
【05】 |
LoRa网络ID |
|
【06】 |
仪表LoRa地址,默认0xfffe,由协调器分配 |
|
【07】 |
组号和编号 |
|
【08】 |
最大休眠时间 |
|
【99】 |
保存参数,设置成1111有效 |
注:设置值均为十六进制HEX码
八、常见故障处理
仪表不能正常工作时,用户可参考下表进行简单的检修,若故障不能排除,请与生产厂家联系。
|
现象 |
原因分析 |
处理方法 |
|
仪表无显示 |
电池没电 |
更换新电池 |
|
上位机收不到数据 |
无线参数不一致 |
设置仪表的无线信道和ID与上位机一致 |
|
温度值偏小 |
引压孔被堵塞 |
将仪表卸下清洗引压孔 |
九、售后服务
本产品在用户完全遵守说明规定要求、使用方法正确、无人为损坏的条件下,保修期为一年。


